發布日期:2026-04-09 瀏覽次(cì)數:次
執行標準:
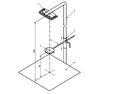
YY/T 1120-2021中7.3.8
技術參數;
圓盤直徑:φ 20mm (厚:1mm)
距離測量(liàng)屏:50mm
測量屏:帶直角坐標係
光源距屏:700mm
工裝包含柱、調節用滑動環(huán)、測試屏、杆

配置清單
工裝一套,合(hé)格證一(yī)份,銘牌一份(fèn)。

執行標準:
YY/T 1120-2021中7.3.8
技術參(cān)數;
圓(yuán)盤直徑:φ 20mm (厚:1mm)
距離測量屏:50mm
測量屏:帶直角坐標係
光(guāng)源距屏:700mm
工裝包含柱、調節用滑動環、測試屏、杆

配置清單
工裝一(yī)套,合格證一份,銘牌一份。

客服微信二維碼